
LMD(MLZ)梅花形彈性聯軸器
- 簡介:梅花形彈性聯軸器具有以下特點:花形彈性聯軸器結構簡單,徑向尺寸小,重量輕,轉動慣量小,適用于中高速場合,梅花形彈性聯軸器工作穩定可靠,具有良好的減振,緩沖和電絕緣性能.
產品詳細

MLZ系列梅花形彈性聯軸器的適用范圍和性能特點
1.MLZ系列梅花形彈性聯軸器
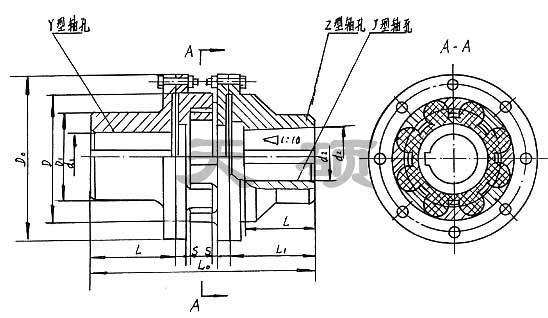
梅花形彈性聯軸器具有以下特點:花形彈性聯軸器結構簡單,徑向尺寸小,重量輕,轉動慣量小,適用于中高速場合,梅花形彈性聯軸器工作穩定可靠,具有良好的減振、緩沖和電絕緣性能。梅花形彈性聯軸器具有較大的軸向、徑向和角向補償能力,梅花形彈性聯軸器高強度聚氨酯彈性元件耐磨耐油,承載能力大,使用壽命長,安全可靠,聯軸器無需潤滑,維護工作量少,可連續長期運行。
梅花形彈性聯軸器主要適用于起動頻繁、正反轉、中高速、中等扭矩和要求高可靠性的工作場合,例如:冶金、礦山、石油、化工、起重、運輸、輕工、紡織、水泵、風機等。工作環境溫度 -35℃~+80℃,傳遞公稱扭矩25~12500Nm,許用轉速1500~15300r/min。ML系列梅花形彈性聯軸器主要由兩個帶凸齒密切嚙合并承受徑向擠壓以傳遞扭矩,當兩軸線有相對偏移時,彈性元件發生相應的彈性變形,起到自動補償作用。
| 型號 |
公稱轉矩 Tn N·m |
許用轉速 [n] r/min |
軸孔直徑 d1.d2.dz |
軸孔長度mm |
I10 max |
D | D0 | D1 | S | 彈性型號 |
質量 kg |
||
|
Y型 L |
J Z | ||||||||||||
| L | L1 | ||||||||||||
| MLZ1 | 25 | 8500 | 12.24 | 32 | 27 | 32 | 80 | 50 | 90 | 40 | 2 | 0.076 | 1.55 |
| 16.18.19 | 42 | 30 | 42 | 106 | |||||||||
| 20.22.24 | 52 | 38 | 52 | 126 | |||||||||
| MLZ2 | 100 | 6900 | 20.22.24 | 52 | 38 | 52 | 134 | 70 | 110 | 50 | 2.5 | 0.25 | 3.15 |
| 25.28 | 62 | 44 | 62 | 154 | |||||||||
| 30.32 | 82 | 60 | 82 | 194 | |||||||||
| MLZ3 | 140 | 6000 | 22.24 | 52 | 38 | 52 | 136 | 85 | 125 | 60 | 3 | 0.50 | 4.5 |
| 25.28 | 62 | 44 | 62 | 154 | |||||||||
| 30.32.35.38 | 82 | 60 | 82 | 196 | |||||||||
| MLZ4 | 250 | 5000 | 25.28 | 62 | 44 | 62 | 162 | 105 | 150 | 65 | 3.5 | 0.86 | 5.5 |
| 30.32.35.38 | 82 | 60 | 82 | 202 | |||||||||
| 40.42 | 112 | 84 | 112 | 202 | |||||||||
| MLZ5 | 400 | 4100 | 30.32.35.38 | 82 | 60 | 82 | 209 | 125 | 185 | 75 | 4 | 2.18 | 8.5 |
| 40.42.45.48 | 112 | 84 | 112 | 269 | |||||||||
| MLZ6 | 630 | 3600 | 35.38 | 82 | 60 | 82 | 216 | 145 | 205 | 85 | 4.5 | 3.4 | 10.5 |
| 42.45.48 | 112 | 84 | 112 | 276 | |||||||||
| 48.50.55 | 112 | 84 | 112 | 276 | |||||||||
| MLZ7 | 1120 | 3100 | 45.48.50.55 | 112 | 84 | 112 | 279 | 170 | 240 | 100 | 5.5 | 7.94 | 18.0 |
| 60.63.65 | 142 | 107 | 142 | 339 | |||||||||
| MLZ8 | 1800 | 2700 | 50.55 | 112 | 84 | 112 | 288 | 200 | 270 | 120 | 6.5 | 18.4 | 32.0 |
| 60.63.65 | 142 | 107 | 142 | 348 | |||||||||
| 70.71.75 | 142 | 107 | 142 | 348 | |||||||||
| MLZ9 | 2800 | 2500 | 60.63.65 | 142 | 107 | 142 | 353 | 230 | 305 | 150 | 7.5 | 32.8 | 45.0 |
| 70.71.75 | 142 | 107 | 142 | 353 | |||||||||
| 80.85.90.95 | 172 | 132 | 172 | 413 | |||||||||
| MLZ10 | 4500 | 2200 | 70.71.75 | 142 | 107 | 142 | 368 | 260 | 350 | 180 | 7.5 | 67.31 | 70.0 |
| 80.85.90.95 | 172 | 132 | 172 | 428 | |||||||||
| 100.110 | 212 | 167 | 212 | 508 | |||||||||
| MLZ11 | 6300 | 1900 | 80.85.90.95 | 172 | 132 | 172 | 435 | 300 | 400 | 200 | 8.5 | 132 | 102 |
| 100.110.120 | 212 | 167 | 212 | 515 | |||||||||
| MLZ12 | 11200 | 2100 | 90.95 | 172 | 132 | 172 | 442 | 360 | 460 | 225 | 9 | 271.6 | 154 |
| 100.110.120.125 | 212 | 167 | 212 | 522 | |||||||||
| 130 | 252 | 202 | 252 | 602 | |||||||||
| MLZ13 | 12500 | 1500 | 100.110.120.125 | 212 | 167 | 212 | 522 | 400 | 500 | 250 | 9 | 433.8 | 205 |
| 130.140 | 252 | 202 | 252 | 602 | |||||||||
| 注:1.工作溫度-35℃~80℃; | |||||||||||||
| 2.聯軸器為鋼制件,彈性件為b型(聚酯)。 | |||||||||||||
| 3.聯軸器總長L0=L+C+L | |||||||||||||

